Log in
inloggen bij Cement
Hulp bij wachtwoord
Geen account?
shop word lid
Home / Alle kennis / Nieuws

Nieuw inzicht in krachtswerking kopdeuvelstaven

5 december 2025

Het toepassen van kopdeuvelstaven (T-heads) als dwarskrachtwapening in vloeren levert in de uitvoering een hoop voordelen op ten opzichte van beugelwapening of opgebogen wapening. Door nieuw inzicht blijken de voorwaarden voor plaatsing minder streng dan aanvankelijk gedacht: de ankerplaten mogen tussen de hoofdwapening worden geplaatst, in plaats van eronder. Het aanbrengen is daardoor eenvoudiger en minder foutgevoelig. Dit inzicht werd toegelicht door Joost Walraven bij een presentatie op een Stubeco/Stutech/Stufib-bijeenkomst.

Ten behoeve van een goede verankering worden wapeningsstaven in veel gevallen aan het uiteinde omgebogen. Een alternatief is het toepassen van kopdeuvelstaven ofwel T-heads, wapening met een platte verankering aan een of beide uiteinden. De verankering van de kop gedraagt zich aanzienlijk stijver dan die van een omgebogen wapeningsstaaf. De optredende slip ter plaatse van de verankering is verwaarloosbaar.

Kopdeuvelstaven kunnen onder meer dwarskrachtwapening in vloeren vervangen. Toepassing heeft een aantal voordelen, vooral bij forse constructies. Het resulteert in lagere wapeningsconcentraties, eenvoudiger vlechtwerk en snellere wapeningsmontage (staven zijn later aan te brengen). Ze zijn in veel projecten succesvol toegepast, onder meer in de E.O.N centrale in Rotterdam, in de Metro Stations Rokin en Vijzelgracht in Amsterdam, in de  Mahanakon Tower in Bangkok en recent in de tunnelelementen van de Fehmarnbelt.

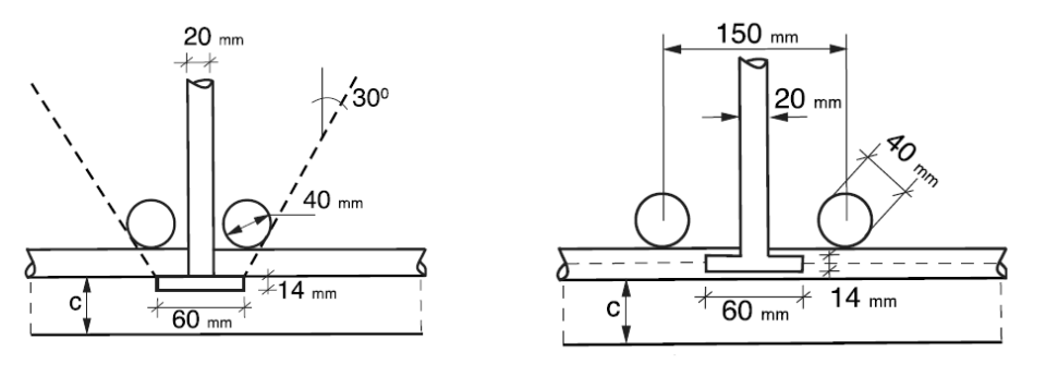
Er bestaat de nodige discussie hoe je dit type staven moet detailleren en dimensioneren. De werking kan worden beschouwd conform de vakwerkanalogie, met trek- en drukstaven en knooppunten. De krachten in die knopen moeten in evenwicht zijn. Om daaraan te kunnen voldoen, moet de buigwapening liggen in het invloedsgebied van de ankerkop (fig. 2), zo werd gesteld in het Cement-artikel ‘Kopdeuvels als dwarskrachtwapening’ uit 2011 (auteurs Paul Teeuwen en Joost Walraven). De werking hangt daarbij dus sterk af van de positie van de koppen van de deuvelstaven.

Deze manier van uitvoeren vergt echter nauwkeurig werken en is niet bepaald praktisch. Naar aanleiding van toepassing in de Oosterweelverbinding in Antwerpen werd door Boskalis (Florentijn de Beukelaer en Jeroen Meijdam) de vraag gesteld of het niet anders kan, nl. positionering van de kopdeuvel tussen staven in de buitenste wapeningslaag (fig. 3).
Uit nadere beschouwing blijkt dat er in die situatie zich een ander vakwerkmodel kan ontwikkelen. Deze werking kan worden onderbouwd met internationale richtlijnen (ook de Eurocode) en resultaten van experimenten en is bovendien getoetst aan de hand van niet-lineaire eindige-elementenberekeningen.
Een goede oplossing is het hart van de kop van de T-head gelijk te leggen met het hart van onderste wapeningslaag. Wel gelden een aantal randvoorwaarden. De bovenkant van de kop mag niet hoger liggen dan de hartlijn van de bovenste wapeningslaag. Aan de onderzijde moet de onderkant van de kopdeuvel minstens op de dekking (cmin) liggen.

Al met al blijkt er wat plaatsing van de T-heads betreft dus meer mogelijk dan eerder gedacht. Dat maakt de toepassing van deze staven extra aantrekkelijk, zeker in vloeren met hoge wapeningsconcentraties.

Bron: Stubeco

Reacties

B. V.d. Berk - Heijmans 09 december 2025 20:40

Zeer interessante inzichten zoals toegelicht in Den Bosch. Ik ben benieuwd hoe de juiste positie van de deuvel na storten dan gegarandeerd wordt. Vanuit dat oogpunt lijken de 'strengere' plaatsingsvoorwaarden toch ook een voordeel te hebben m.i.

Kopdeuvelstaven (T-heads) tussen de hoofdwapening
1. Kopdeuvelstaven (T-heads) tussen de hoofdwapening
Cement ©2026. All rights reserved.

Deze website maakt gebruik van cookies. Meer informatie AccepterenWeigeren